Logo: IPBasket

Patents in the basket:

  • Show:
  • All
  • Most viewed
  • Only PCT
IT
thumbnail-IPDrawing
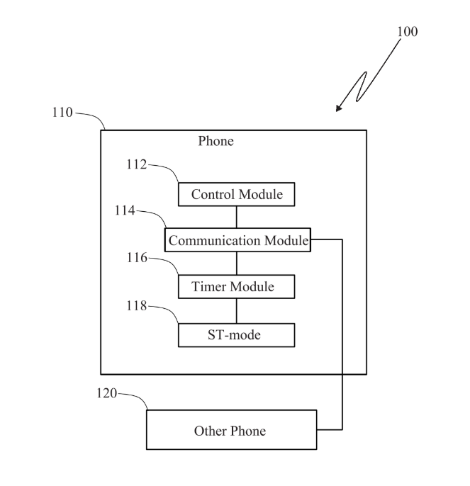
  • A Method for Controlling a Screen Time of a Mobile Phone
  • Nirav Karamshibhai Patel,Dakshaben Nirav Patel
  • Nirav Karamshibhai Patel,Dakshaben Nirav Patel
  • 202421047939
  • India
  • no
  • Read MoreI am interested in Buying/Licensing
IT
thumbnail-IPDrawing
  • A METHOD AND A SYSTEM FOR IDENTIFYING FRAUDS IN AN ELECTRONIC VOTING MACHINE
  • Sonavane Shefali Pratap
  • Sonavane Shefali Pratap
  • 201621008275
  • India
  • no
  • Read MoreI am interested in Buying/Licensing
IT
thumbnail-IPDrawing
  • System And Method For Detecting Currency Geniuness.
  • Mrs. Swarna Kumari Adari
  • Mrs. Swarna Kumari Adari
  • IN201841018501
  • India
  • no
  • Read MoreI am interested in Buying/Licensing
IT
thumbnail-IPDrawing
  • Smart Wearable Ring Based Wireless Transaction System and Method Thereof
  • Mrs. Swarna Kumari Adari
  • Mrs. Swarna Kumari Adari
  • IN201841015370
  • India
  • yes
  • Read MoreI am interested in Buying/Licensing
IT
thumbnail-IPDrawing
  • Contactless Transaction System and Method Thereof Using Contactless Transaction Card
  • Mrs. Swarna Kumari Adari
  • Mrs. Swarna Kumari Adari
  • IN201841014749
  • India
  • no
  • Read MoreI am interested in Buying/Licensing
IT
thumbnail-IPDrawing
  • System and method For Performing Cardless Financial Transactions
  • Mrs. Swarna Kumari Adari
  • Mrs. Swarna Kumari Adari
  • IN201741033411
  • India
  • no
  • Read MoreI am interested in Buying/Licensing
IT
thumbnail-IPDrawing
  • System and method For Performing Financial Transactions Using Virtual Swipe Banking
  • Mrs. Swarna Kumari Adari
  • Mrs. Swarna Kumari Adari
  • IN201741033080
  • India
  • yes
  • Read MoreI am interested in Buying/Licensing
IT
thumbnail-IPDrawing
  • System and Method For Financial Transactions Using Binary Coded Decimal (Bcd) Bankcard.
  • Mrs. Swarna Kumari Adari
  • Mrs. Swarna Kumari Adari
  • IN201741031949
  • India
  • yes
  • Read MoreI am interested in Buying/Licensing
IT
thumbnail-IPDrawing
  • Pre-configurable Payment Cards For Financial Transactions.
  • Mrs. Swarna Kumari Adari
  • Mrs. Swarna Kumari Adari
  • IN201741028509
  • India
  • yes
  • Read MoreI am interested in Buying/Licensing
IT
thumbnail-IPDrawing
  • System and method For Real-time Generation Of Payment Slip
  • Mrs Swarna Kumari Adari
  • Mrs Swarna Kumari Adari
  • IN201741027850
  • India
  • no
  • Read MoreI am interested in Buying/Licensing
IT
thumbnail-IPDrawing
  • Real-time Creation Of Bank Account And Dispensing welcome Kit For The Bank Account Through Atm.
  • Mrs.Swarna Kumari Adari
  • Mrs. Swarna Kumari Adari
  • IN201741026768
  • INDIA
  • yes
  • Read MoreI am interested in Buying/Licensing
Electronics,IT
thumbnail-IPDrawing
  • SYSTEM AND METHOD FOR GENERATION OF ELECTRONIC NEGOTIABLE INSTRUMENT FOR MONEY TRANSFER, PAYMENT AND MANAGEMENT
  • swarnakumari Adari
  • swarnakumari Adari
  • IN201741025886
  • undefined
  • yes
  • Read MoreI am interested in Buying/Licensing
IT
thumbnail-IPDrawing
  • PROCESS FOR IMAGE AUTHORIZATION, AUTHENTICATION AND INTEGRITY CHECK
  • SHEFALI PRATAP SONAVANE
  • SHEFALI PRATAP SONAVANE,WALCHAND COLLEGE OF ENGINEERING
  • 1120/MUM/2012
  • India
  • yes
  • Read MoreI am interested in Buying/Licensing
Instrumentation,Electronics,IT
thumbnail-IPDrawing
  • METHOD FOR IDENTIFICATION OF DUPLICATE FOOD PRODUCTS
  • SANDIP SUBHASH KULKARNI
  • Sandip Subhash Kulkarni
  • 201621003563
  • India
  • yes
  • Read MoreI am interested in Buying/Licensing
IT
thumbnail-IPDrawing
  • A Method and a System for Sharing a Vehicle for Transportation
  • Sandeep Vaid
  • Sandeep Vaid
  • 2783/MUM/2015
  • India
  • yes
  • Read MoreI am interested in Buying/Licensing
Electronics,IT
thumbnail-IPDrawing
  • A METHOD AND A SYSTEM FOR IDENTIFYING FRAUDS IN AN ELECTRONIC VOTING MACHINE
  • Sonavane Shefali Pratap
  • Sonavane Shefali Pratap ,Walchand College of Engineering, Sangli
  • 201621008275
  • India
  • yes
  • Read MoreI am interested in Buying/Licensing
IT
thumbnail-IPDrawing
  • A SYSTEM AND A METHOD FOR FASTER REORGANIZATION OF IRIS PATTERN ON DISTRIBUTED SYSTEMS
  • Anantkumar Janardan Umbarkar & Et al
  • Anantkumar Janardan Umbarkar,Walchand College of Engineering
  • 201621004648
  • India
  • yes
  • Read MoreI am interested in Buying/Licensing
IT
thumbnail-IPDrawing
  • A system and a method for wastewater treatment and recycling in the multi-storey building
  • Shastri Sameer Shrinivas ,Limaye Vaishali Sunil,Gawali Siddhant Gorakshnath,Mapuskar Suhas Vittal
  • Shastri Sameer Shrinivas ,Limaye Vaishali Sunil,Gawali Siddhant Gorakshnath,Mapuskar Suhas Vittal
  • 2281/MUM/2015
  • India
  • yes
  • Read MoreI am interested in Buying/Licensing

No results found

  • Show:
  • All
  • Most viewed
  • Only PCT